PRODUCTS

取り扱い商品

1tローラー

1tローラー_
1tローラー_
1tローラー_
1tローラー_

種類

  • 掘削・整地・運搬
  • 舗装・締固め機械
  • ローラー

用途

  • 土木工事
  • 道路工事

製品詳細

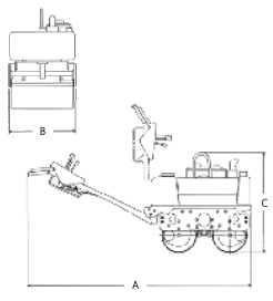
1tローラー
メーカー サカイ サカイ サカイ
型式 HV61ST HV58 HV520
機械重量(㎏) 630 580 585
機体寸法(㎜) 全長A 2430 2450 2450
全幅B 680 640 640
全高C 1185 1175 1175
締固幅(㎜) 635 595 595
起振力(kgf) 1203 979 999
振動数(vpm) 3300 3600 3600
定格出力(ps/rpm) 6.2/2500 5.7/2100 5.7/2100
燃料/タンク容量(ℓ) 軽油/4.8 軽油/4.8 軽油/4.8
散水タンク(ℓ) 30 35 35
コード F111 F111 F111
必要資格 ローラーの運転の業務に係る特別教育

※年式、メーカーにより多少異なります。

寸法図

  • 1tローラー

ご不明な点等がございましたら
お気軽にお問い合わせください

取扱商品や採用などについてご不明な点がございましたら、問い合わせフォームまたは電話でお気軽にお問い合せ下さい。